1. 首页
  2. 资讯
  3. 市场
  4. 福特申请水坑灯设计专利 能够识别驾驶员静脉图案以便车辆进出

福特申请水坑灯设计专利 能够识别驾驶员静脉图案以便车辆进出

盖世汽车

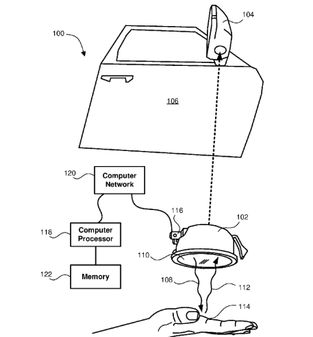
盖世汽车讯 据外媒报道,福特汽车公司(Ford Motor Company)为安装在水坑灯中的识别系统提交了专利申请。该系统能够读取驾驶员的静脉图案,以便车辆进入。

福特申请水坑灯设计专利 能够识别驾驶员静脉图案以便车辆进出

(图片来源:USPTO)

来源:第一电动网

作者:盖世汽车

本文地址:https://www.d1ev.com/news/shichang/228273

返回第一电动网首页 >

收藏
9
  • 分享到:
发表评论
新闻推荐
第一电动网官方微信

反馈和建议 在线回复

您的询价信息
已经成功提交我们稍后会联系您进行报价!

第一电动网
Hello world!
-->